1

Neutral Citation Number: [2021] EWHC 1630 (Pat)

Case No: HP-2019-000047

IN THE HIGH COURT OF JUSTICE

BUSINESS AND PROPERTY COURTS OF ENGLAND AND WALES

Rolls Building

Fetter Lane

London, EC4A 1NL

17 June 2021

Before:

Mr Justice Meade

Between:
Add2 Research and Development Limited
Claimant
v
(1) Dspace Digital Signal Processing & Control Engineering GmbH (2) Dspace Limited
Defendants

Covid-19 Protocol:? This Judgment was handed down remotely by circulation to the parties' representatives by email and release to Bailii. The date for hand-down is deemed to be 17 June 2021.

Guy Burkill QC, Richard Fowler and Charles Brabin (instructed by Innovate Legal) for the Claimant

Mark Vanhegan QC and Maxwell Keay (instructed by Marks and Clerk Law LLP) for the Defendants

Hearing dates: 18–21 and 25–26 May 2021

Approved Judgment

I direct that pursuant no official shorthand note shall be taken of this Judgment and that copies of this version as handed down may be treated as authentic.

2 3

Introduction

4

Conduct of the trial

4

The issues

5

The witnesses

6

Expert Witnesses

6

The Claimant

6

The Defendants

7

Fact witnesses

7

The Claimant

7

The Defendants

7

Skilled Addressee

8

The common general knowledge

8

Agreed CGK

8

Electronic control units (ECUs)

8

Rapid control prototyping (RCP)

9

Hardware-in-the-loop (HIL)

9

Application of HIL to the automotive industry

10

HIL system components

10

HIL Input and Output Interfaces (I/O)

11

Signal conditioning

12

Loads

12

Use of HIL simulation in fields other than automotive;

13

ECU on-board diagnostics

13

Fault simulation / failure insertion

13

Variable power supplies

13

Disputed issue of common general knowledge

13

The patent

16

Claims in issue

19

Issues of Claim interpretation

20

The law

20

Issue 1: claim 1 features (a), (c), (d) and (e) – interface circuit boundary

22

Issue 2: claim 1, feature (e)(i) “enable or disable the said circuit portions” …..

22

Issue 3: claim 1, feature (f), load “connectable selectively”

22

Infringement

23

Load connection

23

Signal interface circuit boundary

28

Validity

31

Obviousness

31

Woermann

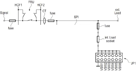
31

DS1103

36

Insufficiency

38

Added matter

39

Section 62(3) Issues

39

Applicable Law

39

The points

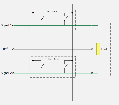
42

Defendants did not know or have reason to believe there was infringement … 42 Specification drafted in good faith and with reasonable skill and knowledge..

43

Proceedings brought in good faith

43

Pre-action protocol and the August 2019 meeting

43

Ultra vires

45

Background facts not in dispute

45

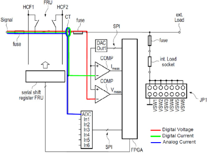
Further findings of fact

46

Applicable Law

47

Ultra vires — analysis

49

The Confirmatory Assignment

51

The Defendants' contentions on interpretation of the Confirmatory

Assignment51

The Defendants' other challenges to the Confirmatory Assignment

52

“Black hole” and constructive trustee

52

Conclusions

53

4

Mr Justice Meade:

INTRODUCTION

1. In this action the Claimant alleges infringement of European Patent (UK) 1 163 622 B1 (“the Patent”). The Defendants deny infringement and contend the Patent is invalid for obviousness over two citations and (as a squeeze) insufficiency.

2. The Patent expired in March 2020 so this case is now about damages.

3. There is an unconditional application to amend the Patent which is opposed on the grounds that the amendments do not cure any invalidity, and added matter.

4. In addition to attacking the validity of the Patent, the Defendants also:

i) Raise various points under s. 62(3) of the Patents Act 1977 (“the Act”) as relevant to relief in the event that the Patent is valid and infringed.

ii) Assert that the Claimant is not the proprietor of the Patent on the basis that an assignment to it was ultra vires the assignor and void as an unlawful distribution under common law.

5. I am also, unusually, asked to rule on whether the Defendants' conduct complied with the Pre-Action Protocol for patent actions.

CONDUCT OF THE TRIAL

6. The trial was conducted fully remotely, and this went well apart from some brief internet problems. I am grateful to the transcribers, including for their provision of a real time feed.

7. A number of the Defendants' witnesses gave evidence from Germany, with the assistance and under the supervision, which was entirely non-intrusive, of the German Court (the Oberlandesgericht Düsseldorf and the Amtsgericht Paderborn). I am very grateful to the German Court and Judges who helped with this.

8. I should say that the Defendants left the organisation of the giving of evidence from Germany much too late. The arrangements through the Foreign Process Section (to whom I am also grateful) and the German Court were barely completed in time for the trial. I draw attention to paragraph 4 of Annex 3 to Practice Direction 32 and to the Chancellor of the High Court's recent Practice Note of 11 May 2021 both of which make it clear that this kind of issue should be addressed much earlier in the proceedings.

9. Guy Burkill QC and Charles Brabin argued the Claimant's case on the patent issues, with Richard Fowler addressing the ultra vires point. Mark Vanhegan QC and Maxwell Keay presented the Defendants' case.

5

THE ISSUES

10. The issues were:

i) The identity of the skilled addressee.

ii) The common general knowledge (“CGK”). The main issue here was the Claimant's allegation of a “mindset” that interface circuitry for HIL projects would always be bespoke.

iii) Claim interpretation. The issues on claim interpretation went to infringement.

iv) Infringement. The facts about the physical characteristics of the Defendants' products are not in dispute, but there is a factual issue about how customers might foreseeably use them, relevant to secondary infringement under s. 60(2) of the Act.

v) Obviousness over:

a) A 1996 article entitled “CARTS – A Hardware in the Loop Simulator for Test and Development of Automotive Control Units” and referred to in these proceedings as “Woermann”;

b) A prior art product of the Defendants called the DS1103 and associated documentation.

vi) The insufficiency squeeze referred to above.

vii) Allowability of the proposed claim amendments – an added matter point.

viii) Under s. 62(3):

a) Did the Defendants know or have reason to believe that they infringed?

b) Was the Patent's specification framed in good faith and with reasonable skill and knowledge?

c) Was the claim brought in good faith?

ix) Was the Pre-Action Protocol complied with, having regard in particular to a meeting on 29 August 2019?

x) Whether the assignment of the Patent to the Claimant by Add2 Limited on 29 January 2018 (“the Assignment”) was ultra vires and void as an unlawful distribution.

xi) If the Assignment was ultra vires, whether a confirmatory assignment of 4 February 2021 by the liquidator of Add2 Limited (“the Confirmatory Assignment”) was effective to assign the Patent and associated rights of action. This involves:

6

a) Interpretation of the Confirmatory Assignment;

b) The Defendants' assertion that the Confirmatory Assignment was or might be ineffective for the same reasons as the Assignment;

c) The Defendants' assertion that that Patent was or might have been assigned to a third party after the Assignment and before the Confirmatory Assignment.

11. The central issues are obviousness and infringement. The other issues are all much more minor or peripheral; they should have been cut back by the parties and undue resources were given to them. I have formed a very clear view that the Patent is obvious over Woermann and I therefore intend to make my reasoning on the other issues brief where possible. I should make it clear that when originally put forward the ultra vires issue was not peripheral and could even have been decisive, but persistence in it after the Confirmatory Assignment was not well thought out.

THE WITNESSES

Expert Witnesses

12. Each side called one expert.

The Claimant

13. The Claimant called Dr Christian Matthews. Although now very familiar with HIL and RCP, he was not in the field at the priority date, but worked for Add2 from 2006 until 2009. He sought to put himself in the position of the notional skilled addressee by research and reading literature. This was an inherently difficult task since there is little published in this field, but he applied himself to it with care and professionalism. Despite that, I think the fact that he was not in the field at the time made it hard for him to deal with real authority with the mindset issue to which I refer below.

14. Otherwise, he was an excellent witness: clear and precise and knowledgeable. He made concessions where appropriate and was entirely fair. It was contended that he should have included more CGK in his first report, but even to the limited extent that there were matters he did not cover, it was no reflection on him personally and he dealt with CGK entirely fairly in his oral evidence.

15. His treatment of infringement was such that he withdrew his support for some of the Claimant's contentions as the case went on, right up until the eve of his oral evidence. This is not a criticism but a strength as it showed that he was keeping matters under review and not just supporting whatever the party engaging him wanted. It was also somewhat tied up with the fact that his access to the confidential materials was delayed because of legal approval being needed from his university employers.

7

The Defendants

16. The Defendants called Mr Andreas Hostmann. He was one of the principals in dSPACE until he left in 2008. He had the advantage over Dr Matthews when it came to direct knowledge of the art at the priority date.

17. Mr Hostmann was clearly very knowledgeable about the field, but the Claimant said that he was highly inventive, pointing to various patents in his name. I suspect that he is an inventive individual (and that he was unduly modest about his abilities) but that is not in itself the question. The question is whether he could put himself in the position of the notional uninventive addressee, and I think he could do that perfectly adequately.

18. In dealing with the prior art attacks, I have said that the Patent is obvious over Woermann but not obvious over the DS1103. I have also said that the attack over the DS1103, as supported by Mr Hostmann, was heavily freighted with hindsight. I have therefore carefully considered whether Mr Hostmann's whole approach let in hindsight. I do not think it did. The DS1103 attack was an artificial one, starting from the Patent and working back. The same cannot be said of the Woermann attack and I found no hindsight in Mr Hostmann's approach there.

19. I found Mr Hostmann rather argumentative at times, in particular on the infringement point about where the signal interface ends and the simulator begins, and what is a “signal”, but not to the extent that I would discount his evidence. Overall he was a good and reliable witness.

Fact witnesses

20. Each side called a number of fact witnesses.

The Claimant

21. Mr Brett Dowen is the principal behind the Claimant and was also the main shareholder in Add2 Limited. He gave evidence primarily about the ultra vires issue. Allowing for the fact that he has significant personal involvement I thought he gave honest and straightforward evidence. Rather oddly, his evidence did not cover the August 2019 meeting despite being there, but it did not reflect on the evidence he did give.

22. Mr Andrew Raby gave evidence about the August 2019 meeting as well, and took notes at the time. He was an honest and straightforward witness.

23. Mr Martin Terry gave evidence about the prosecution of the Patent. He was not required for cross-examination.

The Defendants

24. Dr Herbert Hanselmann is a senior figure in the Defendants, now the Chairman and formerly the CEO. He gave evidence about the August 2019 meeting. He was perhaps a bit testy about the whole exercise and about the events in question, but was honest and direct.

8

25. Mr Günther Gruhn works for the Defendants and also spoke to the August 2019 meeting, at which he took notes. He was honest and direct and was asked very few questions.

26. Mr Robert Polnau and Mr Dirk Hasse gave evidence on the PPD. They were clear and straightforward, as Counsel for the Claimant accepted.

27. Other witnesses relating to the public availability of manuals for the DS1103 prior art were not required for cross-examination once such availability was admitted.

28. Mr Graham Burnett-Hall, a partner in the Defendants' solicitors, gave formal evidence in which he exhibited documents about assignment of the Patent from Add2 Limited. He was not required for cross-examination.

SKILLED ADDRESSEE

29. Any dispute about this dwindled to nothing during the trial. The skilled addressee would have a relevant degree or equivalent knowledge based on practical experience, and would be familiar with HIL interface circuits. The only issue that looked likely during trial to be contentious, but which faded, was whether the skilled addressee would be a user of HIL interface circuitry or a maker/designer of it. In my view it would be the latter, and in closing that was common ground anyway.

THE COMMON GENERAL KNOWLEDGE

30. Nearly all the CGK was agreed. All the disputes except one or possibly two (fixed-interface mindset, covered below, and switch matrices, covered in relation to Woermann) faded away during trial.

Agreed CGK

31. The parties provided a written statement of agreed common general knowledge, for which I am grateful and which I reproduce below, with slight editing for clarity and brevity, and with the addition of Mr Hostmann's figures about RCP/HIL. I have also removed some text which seems to me phrased in a way which might, as matters have turned out, not be neutral in relation to the claim construction issues, or the mindset and Woermann arguments. I should also say that where the expressions “signal” and “interface” are used in this section it is without prejudging the construction issues in the case.

Electronic control units (ECUs)

32. Since the 1980s, many industries have used electronic control units (“ECUs”) to control aspects of mechanical systems. Within the automotive industry, an engine ECU is a good example. An engine ECU controls aspects of the engine, such as fuel injection, based on the output of a multitude of sensors within the engine. During the design of a new vehicle, the development processes for ECUs and for vehicle hardware were (and are) facilitated by the use of two tools: rapid control prototyping (“RCP”) and hardware-in-the-loop simulation (“HIL”). Much of the 9argument and evidence in the case was about the automotive industry, but the claims of the Patent are not so limited and other industries and applications are therefore potentially relevant.

Rapid control prototyping (RCP)

33. RCP was (and is) used in the design of a control strategy and involves a real plant and a simulated controller. The RCP board is connected to the plant in place of the controller (e.g. an ECU), and the software on the RCP board is modified until the desired behaviour of the plant is achieved. The outcome of RCP is a validated control strategy for implementation on a real-life ECU. The term “plant” was a CGK term to refer to a system to be controlled.

Hardware-in-the-loop (HIL)

34. HIL was (and is) a general term for a technique which involves real control hardware with simulated plant. It is used for example to test an ECU that has already been developed. It involves real controller hardware (e.g. an electronic control unit) and a simulation of the plant (e.g. a simulated vehicle engine), with voltages and currents which would be found in the real plant. In this situation the ECU is sometimes referred to as the system under test or “SUT”.

35. HIL simulation replaces real components with simulations, based on mathematical models describing their physical behaviour. HIL can deal with a mixture of real and simulated components. Parts of the plant (the device to be controlled by the ECU under test) can be real hardware while others may be simulated by the HIL system based on a mathematical model. The function of a HIL simulator was thus to emulate the behaviour of the plant (for example, in the automotive sector, a vehicle engine) or its subsystems in response to control signals from an ECU. The HIL simulation reads ECU output signals, then calculates the response of the simulated component to these signals and in turn outputs signals, which would normally come from sensors on the plant, to the ECU. This makes the ECU “think” it is controlling a real system. HIL reduces expensive field tests, allows for the simulation of failure situations not otherwise possible, and allows for tests to be reproducible many times over under the same conditions if required. To cut engineering time, it may even be desirable to run first tests with new ECUs at a time when the plant does not yet exist.

36. I found the following simple diagrams from Mr Hostmann's evidence useful in visualising RCP, HIL and the eventual real system:

10

Application of HIL to the automotive industry

37. HIL was developed originally in the aerospace industry. It was established in this sector by the late 1980s. Other industries did not include it in their routine R&D strategies until the 1990s. By about the mid-1990s, HIL was becoming established in the automotive industry, for which it was well suited. By 1999, vehicle manufacturers were utilising HIL simulation systems to evaluate the functionality and reliability of individual vehicle ECUs and in the assessment of the performance of key subsystems such as engine management, prior to building a whole vehicle. It was useful both for conventional vehicles (e.g. passenger cars and trucks) as well as more specialised vehicles such as racing cars.

38. A typical vehicle in the late 1990s would incorporate a number of separate ECUs, each of which would manage a distinct set of functionalities such as engine management, body systems (locking, seating, lighting etc), braking, instrument clusters etc. The number of pins on an ECU varies greatly. An ECU with a pin count of 50 to 100 pins would be typical, though there could be more or less. The various ECUs would be distributed throughout the vehicle according to their functionality and communicate with each other through protocols such as Controller Area Network (“CAN”).

39. An ECU expects to output electrical signals to a vehicle as a voltage or current which may be in digital or analogue form. In HIL, these signals are in turn inputs to the HIL system where the signals are digitised for use in the simulation. If the signal is expected to vary continuously then an analogue to digital converter channel (“ADC”) would normally be used, whereas if the signal is expected to be either on or off, then a digital input channel would be called for. These channels were typically provided by circuit boards (I/O boards) which were connected to the simulator computer.

HIL system components

40. A “real-life” control system consisted of a closed loop of a controller (the ECU) and the device to be controlled (plant). For example, the controller can measure the current state of the plant by reading the actual values of sensors attached to 11the plant, compare the actual plant state with a desired plant state (setpoint) and in case of a deviation perform corrective actions by engaging actuators in order to steer the plant back to the setpoint. The controller can then read the sensors again to check if the corrective action was successful, changing actuator settings again if necessary and so on.

41. The following components were required to set up a closed control loop containing simulated parts:

i) An interface which receives signals from the ECU and processes them. Numerical values are then derived to be used for calculating the mathematical model of the plant.

ii) A realtime processor powerful enough to take the numerical values and calculate the reaction of the plant based on the mathematical model at the same speed as the real plant reacts. In order to replicate the way the real plant reacts and also the speed at which it reacts, the calculation of the mathematical model must be performed in real time. Mathematical models of real plants can easily become quite complex and calculating them in real time is one of the big challenges of HIL because it requires a lot of computation power.

iii) An interface which takes the results from the calculation of the plant model, converts the numerical values into physical signal quantities, and sends them to the sensor inputs of the ECU.

iv) The two interfaces may be combined in the same hardware, or share some hardware.

v) A power supply, which provides the supply voltage for the ECU.

HIL Input and Output Interfaces (I/O)

42. It is important to note, not because it is a matter of substance but because it can lead to unnecessary confusion, that in HIL systems, input is usually used to refer to an input to the HIL simulation and output to refer to an output from the HIL simulation . This is the usage in the context of the Patent. Meanwhile, some of the text below refers to things from the point of view of the ECU so care is needed.

43. Inputs and outputs formed the interface between real and simulated parts, i.e. the model running on the HIL simulator and the ECU under test. Outputs of the ECU driving actuators like fuel injectors in a real car were connected to inputs of the HIL simulator. Inputs of the ECU receiving sensor signals in a real car were connected to outputs of the HIL simulator.

44. For a HIL system to interface properly with an ECU under test, it had to be able to output the signal types the SUT (the ECU) expects and be able to receive the signal types the SUT will produce. To ensure this was the case, the HIL system had to be able to provide and receive a multitude of different signal types. There are three categories: digital signals, analogue signals and resistive signals.

12

Signal conditioning

45. Signal conditioning is where a physical signal (carrying analogue or digital information encoded on a physical quantity, usually a voltage) is “conditioned” (i.e. its properties are changed but it remains a physical signal) so that it is within the range expected by the ECU pin (e.g. level adaptation of the voltage or amplification or other measures such as filtering).

46. Signal conditioning circuits thus translated one electrical signal into another electrical signal. Such circuits were used in HIL to adapt the signal characteristics of an ECU-pin to those appropriate for a HIL I/O board. They were required if the signal characteristics measurable or produced by a HIL I/O board were different from the signal characteristics at the ECU pin so that the ECU pin could not be directly connected to the HIL I/O board.

47. Typically, signal conditioning was necessary with ECUs and plant in the automotive sector due to e.g. the voltage level supplied by a car battery (12V) being greater than the voltage used by TTL logic (0–5V).

48. The signal conditioning step was typically carried out by signal conditioning circuits. The signal conditioning circuits were usually built for each ECU to be tested and implemented as separate boards connected to the I/O boards of the HIL system.

Loads

49. HIL systems initially used real actuators as loads but these were replaced by electrically equivalent circuits of electrical components (resistors, inductors) whenever possible. Often such an electrical circuit can be much simpler than the real actuator. When the system under test would expect to drive actual loads such as actuators, a load would replace a real actuator.

50. The connection between the ECU and the device being controlled (the load) would depend on the type of device. Most devices would require just one ECU pin. Such devices were known as a single-ended loads and would require current flow in one direction only. The ECU would control the device via the single ECU pin. The device under control (the load) would also typically be connected via a separate connection to battery voltage or to ground.

51. Other devices would require two ECU pins. Such devices were known as a full bridge load or double-ended load and would require current flow in two directions, e.g. to drive a motor in two different directions. Examples of such devices include an electric window motor or a throttle valve. Such devices would typically require two inputs into the simulator to monitor the signals on both of the ECU pins.

52. Typically three kind of loads were found in HIL systems:

i) Single ended highside loads, with one pin connected to an ECU pin and one pin connected to battery voltage.

13

ii) Single ended lowside loads, with one pin connected to an ECU pin and the other pin connected to ground.

iii) Double ended loads with both ends connected to individual ECU pins, in which the direction of current flowing through the load is determined by the difference between the output state of the two pins.

53. To support the different kind of loads, a HIL system provided configuration means. For single ended loads, these would be jumpers (a short length of conductor manually slipped over 2 or more contact pins to make an electrical connection between them) for low power loads, or plugin sockets with higher current ratings for higher power loads, to connect the other end of the load to ground or battery voltage.

Use of HIL simulation in fields other than automotive;

54. This and the remaining issues where there was ultimately no dispute over CGK were not covered in the parties' agreed statement because it was not until trial that they faded away.

55. It was CGK that HIL could be applied to fields outside the automotive industry. It had been developed from the aerospace industry, as noted above, and would be seen as typically applicable where it was not practical or safe to use the real product. It was CGK that it could also be used in consumer products, but there was little evidence about the details of this before me.

ECU on-board diagnostics

56. ECUs often have to test for failure states as well as normal operation. This is called onboard diagnostics. This was common in the automotive sector and also used, to an extent which was not clearly established, in other settings.

Fault simulation / failure insertion

57. To test the onboard diagnostics of ECUs, HIL systems in the automotive sector in particular could have the ability to simulate faults such as breaking the connection from the ECU to the load/actuator, shorting the ECU connection to the load/actuator to ground, or shorting the ECU connection to the load/actuator to battery voltage. The experts did not quite agree about whether all automotive projects at the priority date would have failure insertion, but it was at least very common.

Variable power supplies

58. It was CGK to have a variable power supply in automotive applications to simulate various things, including a battery getting flat. Flat battery also needed to be simulated in non-automotive HIL applications like cameras.

Disputed issue of common general knowledge

59. This was the only substantive issue over CGK.

14

60. The Claimant argued that there was a mindset in the art. The mindset alleged is that interface circuitry in an HIL project would be bespoke for that particular project. The Claimant called this the “fixed interface mindset”. All the discussion and evidence concerned the automotive industry, but I agree with the Claimant that the situation was not shown to be different anywhere else.

61. It is clear that mindset is a relevant concept in patent law, recognised in the cases. Counsel for the Claimant referred to Dyson v. Hoover [2002] RPC 22 at [88] and [92]: the art was “functionally deaf and blind to any technology which did not involve a replacement bag”; it was “bagridden”. This would have affected the skilled addressee's attitude to art where the dust was removed with a cyclone.

62. Mindset is usually addressed under the heading of common general knowledge. It may perhaps be thought of as a sort of negative, or limiting CGK.

63. Counsel for the Claimant also referred to Schlumberger v. EMGS [2010] RPC 33 where Jacob LJ commented on Dyson, but I did not think it really added anything for present purposes.

64. Like any other CGK, a mindset has to be prevalent; it has to be generally held: see Cipla v. Glaxo [2004] RPC 43 at [80] and Philips v. Asustek [2019] EWCA Civ 2230 at [118]. The latter case is also useful for the observations of Floyd LJ in relation to commercial matters: after considering Dyson and the earlier case of Hallen v. Brabantia [1989] RPC 307 he said that a commercially driven mindset may be part of the CGK, but if the changes from the prior art are obvious, there is no further question of whether it would appear commercially attractive.

65. I would also comment that a mindset is usually about an attitude of the notional skilled addressee that something must (bags) or should not be done. It is not satisfied merely because a state of affairs is in fact common. In the context of the present case, the fact (if it were so) that those in the art always did make the interfaces bespoke does not necessarily mean that they thought that they had to.

66. In the field of technology the subject of this case, there were essentially four main companies who provided HIL interfaces: dSPACE, ETAS, CARTS and ISI. Subject to a point about Woermann (from CARTS) which I will come on to, it appears to have been the case at the priority date that, indeed, all interfaces were bespoke, and for a new project or new ECU it was necessary to start again and make a fresh arrangement with a lot of rewiring. I was certainly not shown any counterexamples. Why, the Claimant asks, was this tolerated if it was obvious to use a (re)configurable interface where components could be switched in and out under computer control?

67. Superficially this seems a reasonable point, but in my view it was met on the facts, because it was said by the Defendants, and accepted by Dr Matthews, that the main customers, the car companies, were content from a financial point of view to have bespoke interfaces made for them, because they could absorb and write off the costs for the project in question and move on to the next. So there was no pressure to change. Dr Matthews said that for SMEs it might be different, but he accepted they were very few in number in the automotive industry.

15

68. I have mentioned Woermann (from CARTS). For reasons given below, I have concluded that Woermann did provide flexibility to avoid bespoke wiring for every job, by using an array of switches (albeit there is a dispute about how they would be controlled), and as a result I do not think it was true that it was universally the case that HIL interfaces had to be bespoke. I note that Dr Matthews was not aware of CARTS at the time.

69. The Claimant relied on various pre- and post-priority materials to support the mindset argument:

i) The Defendants' 1999 catalogue showed a bespoke set-up, and Mr Hostmann accepted that they provided bespoke interfacing as a “necessary evil”. This is not inconsistent with sticking to bespoke provision because automotive customers wanted it.

ii) The Defendants' 2009 patent application said that prior setups were inflexible because they had to be task-specific. Again, this recognises that there was in fact laborious bespoke work that was done, but not that it had to be, or that flexibility (at least of the kind provided by the Patent) could not be achieved.

iii) A 2010 article co-authored by Dr Matthews contained similar statements, but the point is the same.

70. At a more general level, I would observe that it would take very powerful evidence to establish that a mindset existed that a laborious manual task could not or should not be put under computer control, in a setting where computers were already in use for signal processing and device control. It is a quite different situation from Dyson.

71. So I reject the existence of the mindset alleged by the Claimant – it was simply that bespoke systems were in fact usually used — and in any event it does not work in the specific case of Woermann, for reasons touched on above and further developed below.

72. Given the way that the Claimant developed its case, the mindset argument segued or blended into an argument along the lines of: if the Patent was obvious, why was it not done before? I will therefore deal with that here, although it might be said it is not an issue of common general knowledge but of secondary evidence of non-obviousness.

73. The Defendants' allegedly infringing Scalexio products were not launched until well after priority date, in 2011. When they were, the Defendants made a virtue of their flexibility. But this involved a lot more than just the interface flexibility that the Patent teaches, since it included the flexibility to arrange the channels to measure current and resistance as well as voltage. Mr Hostman said, and Dr Matthews largely accepted, that without channel flexibility there was a lot less, if anything, to be gained from interface flexibility. I agree with this. The explanation why Scalexio did not come along for ten years after the priority date was probably that it involved a number of advances all at once, and that interface 16flexibility was not worth doing on its own. The situation with what the automotive customers wanted also no doubt continued to play its part.

74. The Claimant also sought to make a “technical acclaim” argument. What I have said already deals with this. Scalexio was recognised to be flexible in a number of related ways; this may loosely be called “acclaim” but is of no assistance.

THE PATENT

75. The patent is entitled simply “Interface Circuit”. The priority date is 24 March 1999.

76. The specification sets the scene in [0001] and [0002]:

[0001] The present invention relates to interface circuits and in particular, but not exclusively, to interface circuits for use within simulation techniques.

[0002] It is increasingly common to test engineering systems by simulation. For instance, the operation of an electronic system such as an engine management system may be tested under a wide range of conditions by providing signals representing those conditions, and recording the response of the engine management system under those simulated conditions. This allows a very wide range of conditions to be simulated, possibly including situations which are unlikely to arise in practice, or would be dangerous or difficult to create in a real life test. Simulation signals to the system under test can readily be generated by computer or from computer based circuitry. However, the signals readily available in this form (particularly signal voltages; currents and loadings) may not be the same as those which would be experienced in real life by the system under test. In the past, the flexibility of simulation available from a computer controlled system has thus been hampered by the need to design and build an interface circuit specific to the requirements of the simulation system and the system under test. The cost and delay involved in doing so can represent a significant hindrance to the test procedure.”

77. This clearly sets out the downside of having to build bespoke interface circuits. The reference to “signals … particularly signal voltages, current and loadings … may not be the same” refers in general terms to the need for signal conditioning, but it does not necessarily mean that the Patent will contain teaching about an interface which in fact deals with current and loads as well as voltages.

78. Various consistory clauses follow about which I need not say anything, and then the discussion of the preferred embodiment (there is only one, contrary to the use of the plural at line 51 in column 2) begins at [0014]. I will set out some key sections shortly, but the best way to orient oneself is by the figures.

79. Figure 1 is as follows:

17

80. The simulator is on the left and the ECU on the right. As I have mentioned in connection with the CGK, conventional terminology is that “input” and “output” are used as if seen from the perspective of the simulator. Personally I found this counterintuitive and confusing at first, but in any event the issues in the case are really about the input, and it is helpful to separate the output and in the input, as Mr Hostmann did in a useful drawing, which is not in dispute.

81. It will be noted that components 42, 44, 46 and 48, which all make up the “controlled load arrangement” 40, are shown in the output and the input. This is also potentially confusing because they look at first sight very much like they are in the upper, output, part of the circuit, but they are electrically connected to the pin 18 from the ECU and so are also part of the input.

18

82. The following diagram was provided by the Claimant in its written submissions and usefully labels the input parts of the circuit.

83. 26, 28 and 30 do some signal conditioning, and thereafter there are analogue and digital parts (analogue buffer circuit 34, digital threshold detector 32) each switched in or out by respective switches 36. The fuses 38 do not matter.

84. The lower, input limb is described from [0017].

85. [0019] is important to the “interface” infringement argument and is as follows:

[0019] When the gate 32 is switched into circuit and the buffer 34 is switched out of circuit, the lower limb 22 acts as a digital input interface, as follows. A signal received at 18 is first buffered at 26 and filtered at 28, before being amplified at 30 and applied to the gate 32 for threshold detection. It is desirable that the output of the gate 32 is at conventional logic levels (such as TTL logic levels) so that the output of the gate 32, available through the terminal 14, can be used directly by the simulator 16, without further processing or interface requirements.”

86. The controlled load 42 is described at [0026] and [0027]:

[0026] A controlled load 42 (illustrated as a variable resistance but alternatively of any form of variable impedance) is connected at one side to the terminal 18 and at the other side to a switch 44 to connect the load 42 to ground at 46 or the positive rail at 48, according to the state of the switch 44. Although not illustrated, the switch 44 preferably has a further state in which the load 42 is connected neither to ground 46 nor to the positive rail 48 and is thus effectively out of circuit.

[0027] The load 42 can therefore be introduced into the circuit to apply a loading to the signal received at 18, either loading the signal to ground or to the positive rail, according to the setting of the switch 44, with the degree of loading being set by the setting of the variable load 42.”

19

87. How to control the switches of the circuit by the control means 12 is described in [0037]. Nothing turns on the detail of this.

88. Figure 2, which I need not reproduce, shows how to combine a number of circuits of figure 1 into a multi-channel device, which is the subject of claim 32.

Claims in issue

89. The proposed claims that remain in issue as independently valid and alleged to be infringed were 1, 10, 22A, 24 and 32. Claim 1 in its proposed amended form is:

(a) A signal interface circuit

(b) for providing an interface between a simulation system and a system under test

(c) comprising circuit portions operable to provide a digital interface, and

(d) circuit portions operable to provide an analogue interface,

(e) the circuit further comprising control means

(i) operable selectively to enable or disable the said circuit portions,

(ii) so as to reconfigure the interface provided by the signal interface circuit,

(f) in which the circuit further comprises a load

(i) connectable between a terminal on which an input signal is received,

(ii) and in which the load is connectable selectively to a high or low power rail

(iii) whereby to apply a loading to the input signal.

90. It is also worth setting out claim 22A:

A signal interface circuit according to claim 1 in which

(a) the load is connectable at one side to the terminal

(b) and at the other side to a switch to connect the load to ground or to a positive rail, according to the state of the switch,

20

(c) and in which the setting of the switch is determined by the control means.

ISSUES OF CLAIM INTERPRETATION

The law

91. The principles of purposive claim interpretation are well known. The Defendants referred to the judgment of Floyd LJ in Saab Seaeye Limited v Atlas Elektronik [2017] EWCA Civ 2175 at [18] and [19]:

“18. There was no dispute about the principles which apply to the construction of patent claims. Both parties relied, as did the judge, on the summary in this court's judgment in Virgin Atlantic v Premium Aircraft [2010] RPC 8 at [5]:

‘(i) The first overarching principle is that contained in Article 69 of the European Patent Convention.

(ii) Article 69 says that the extent of protection is determined by the claims. It goes on to say that the description and drawings shall be used to interpret the claims. In short the claims are to be construed in context.

(iii) It follows that the claims are to be construed purposively – the inventor's purpose being ascertained from the description and drawings.

(iv) It further follows that the claims must not be construed as if they stood alone – the drawings and description only being used to resolve any ambiguity. Purpose is vital to the construction of claims.

(v) When ascertaining the inventor's purpose, it must be remembered that he may have several purposes depending on the level of generality of his invention. Typically, for instance, an inventor may have one, generally more than one, specific embodiment as well as a generalised concept. But there is no presumption that the patentee necessarily intended the widest possible meaning consistent with his purpose be given to the words that he used: purpose and meaning are different.

(vi) Thus purpose is not the be-all and end-all. One is still at the end of the day concerned with the meaning of the language used. Hence the other extreme of the Protocol – a mere guideline – is also ruled out by Article 69 itself. It is the terms of the claims which delineate the patentee's territory.

21

(vii) It follows that if the patentee has included what is obviously a deliberate limitation in his claims, it must have a meaning. One cannot disregard obviously intentional elements.

(viii) It also follows that where a patentee has used a word or phrase which, acontextually, might have a particular meaning (narrow or wide) it does not necessarily have that meaning in context.

(ix) It further follows that there is no general ‘doctrine of equivalents.’

(x) On the other hand purposive construction can lead to the conclusion that a technically trivial or minor difference between an element of a claim and the corresponding element of the alleged infringement nonetheless falls within the meaning of the element when read purposively. This is not because there is a doctrine of equivalents: it is because that is the fair way to read the claim in context.

(xi) Finally purposive construction leads one to eschew the kind of meticulous verbal analysis which lawyers are too often tempted by their training to indulge.’

19. Sub-paragraph (ix) must now be read in the light of the Supreme Court's judgment in Actavis v Lilly [2017] UKSC 48, which explains that, at least when considering the scope of protection, there is now a second question, to be asked after the patent claim has been interpreted, which is designed to take account of equivalents. There was some reference in the written arguments to the impact of that decision on the present case. In the end, however, Mr Mellor disclaimed any reliance on any doctrine of equivalence for the purposes of supporting an expansive scope of claim in the context of invalidity. That issue will therefore have to await a case in which we are called upon to decide it.”

92. Principle (v) is important in the present case. Counsel for the Defendants submitted that given that there is only one preferred embodiment, it was more likely than if there had been multiple embodiments that the patentee had chosen claim terms to correspond to the preferred embodiment, rather than to have a more general meaning. I do not accept this. Even where there is only one preferred embodiment the patentee is likely to have had a generalised concept in mind, and it is necessary to work out from the language whether that is so, and what the concept is. Multiple preferred embodiments may, by their consistency, give further clues as to what the claims were intended to mean, but general claim language cannot be restricted to the preferred embodiment just because there is only one.

22

Issue 1: claim 1 features (a), (c), (d) and (e) – interface circuit boundary

93. This issue, which is a single point spanning multiple claim features, is one of the type that can be best understood in the concrete context of the alleged infringement, although of course one must have in mind that claim interpretation should ultimately be independent of the infringement.

94. So I will indicate the nature of the point at this stage and a broad conclusion, returning to it in the context of the Defendants' products. It is this: claim 1 requires a signal interface circuit, and, within that circuit, portions which provide a digital and an analogue interface. Then, by feature (e) it is required that the circuit has control means to enable or disable those portions.

95. The Defendants contend that the “signal interface circuit” is a circuit which deals with the “real world” input signals, and does not extend into the, as it were, purely digital realm (essentially, they say, the simulator) after those signals have been measured and started to be digitally processed. They say that if the switching in and out of analogue and digital signal portions takes place outside the signal interface circuit as they contend it to be, and inside the simulator, there is no infringement. I agree with the Defendants at the level that the claim is to an interface circuit which must include certain things, and which is separate from the simulator, but where to draw the boundary and how it relates to the point where “real world” signals cease has to be assessed in the context of the facts.

96. The Defendants sought to make, or reinforce, the same point by reference to features (c) and (d), contending that digital and analogue interfaces must have signals and not numerical values, at their inputs and outputs. I found this somewhat hard to follow but in any event it was not a separate issue.

Issue 2: claim 1, feature (e)(i) “enable or disable the said circuit portions”

97. The Defendants argued that this required actual switching out of circuit of the circuit portions, and that merely not using the output of such a circuit portion would not be “disabling” it. I disagree; “enable” and “disable” are much more general terms, and it was only in granted claim 4 (now in claim 10) that “connecting and disconnecting” was introduced. Further, the analogue buffer 34 and digital threshold detector 32 in the preferred embodiment are always active and providing output signals; switches 32 simply have the effect that the output is not used when the respective switch is open.

Issue 3: claim 1, feature (f), load “connectable selectively”

98. The issue is this: the parties agree that claim 1 covers a situation where the load is manually connectable. It does not have to be under the control of the control means (which would allow it to be computer controlled): that comes in claim 22A.

99. However, the Defendants argued that a load would not be connectable selectively if it was necessary to disconnect it in order to then switch it from the high to low power rail, or vice versa.

23

100. I reject this; the claim does not say how the connection has to be switched over, if and when it is. No purposive argument was advanced for the Defendants' additional limitation, and it does not seem to me to make sense. What of a device where the connection was to be made while the power was off — why would it matter whether the load was disconnected in order to be connected to the high or low power rail?

INFRINGEMENT

101. The Defendants' devices alleged to infringe are part of its Scalexio product line. By the start of the trial, infringement was alleged by:

i) The DS2680 unit; and

ii) The combination of the DS2642 board and the DS2601 board.

102. With the exchange of opening skeletons and through the evidence and argument at trial, it became clear that there really were just two aspects of the products that mattered, and that they were the same for the DS2680 and for the DS2642 + DS2601 combination:

i) Load connection; and

ii) Where the boundary of the “signal interface circuit” is.

Load connection

103. The Defendants do not supply loads with their Scalexio circuits – the customers provide them. The Claimant addressed that in two ways.

104. First, it alleged secondary infringement under s. 60(2) of the Act on the basis that the boards without loads were means essential and the Defendants knew that the customers would insert loads. The Defendants admitted this, although they disputed how the customers would connect the loads, and I return to that below.

105. Second, the Claimant alleged that claim 1 was directly infringed by the boards even without loads, under the doctrine of equivalents. I gave permission for that argument to be added by amendment at the PTR, since it seemed a purely legal argument on the same facts already in issue, albeit a difficult argument. Given the Defendants' acceptance that their customers would insert loads, equivalence became irrelevant and I do not need to rule on it.

106. In terms of their physical connection, loads are put into the Defendants' boards in the following way:

24

107. One can see a blue resistor (the load) connected top and bottom. Underneath it, barely visible, is a blue jumper. It is by moving the jumper that the resistor's connection to high or low power can be changed. But the jumper cannot be moved without taking the resistor out. This is why the claim interpretation point about claim 1(f) matters. I have held that claim 1(f) is met even if the load has to be removed to make a manual connection, so the feature is satisfied.

108. However, claim 22A requires that the load has to be connectable to ground or a positive rail by a switch which is under computer control through the control means (claim 1 also requires that, on the Defendants' case, which I have rejected).

109. The Claimant says that loads are switchably connectable, as claim 22A requires, in certain circumstances, as I will explain.

110. First, loads can be inserted in the Scalexio boards as single-ended or double-ended loads, thus:

111. The single-ended set-up looks like this, in a circuit diagram (the ECU is on the left here):

25

112. But the load connection still has to be made manually, at the item marked “JP1” in the lower right, which corresponds to the photographs above and was referred to at trial as the “Lego brick”.

113. The double-ended set-up normally puts the load across two ECU pins, so that current can be driven through it in either direction, to simulate e.g. a DC window car motor, as explained in the CGK section above. That would not fall within the claim because it does not involve the load being switchably connected to a high or low power rail, let alone by the control means.

114. However, a further feature of the Scalexio boards is that they have “fail rails” which allow short circuits to be introduced for failure testing, as also explained the CGK section. This essentially gives a number of switches on each ECU line which can be opened and closed by the control means.

115. The normal set up for a double ended load to be able to drive current in both directions would be as follows (ECU again on the left):

26

116. But it would also be possible to set the switches as follows:

117. Here, the Signal 1 line is connected as before, but the switches in the FRU-CH2 make a connection to the right-hand fail rail (the vertical line) and thence to the failure insertion unit “FIU” which is connectable by further switches to power or ground. The Signal 2 line is not connected to the ECU because the middle switch in FRU-CH2 is open.

118. Although in this set-up the load is put in place in a double-ended fashion, physically speaking, at the “Lego brick”, it is actually connected up as a single-ended load by the switch settings I have depicted. It is not connected to two ECU pins, but only to one.

27

119. In my view, this satisfies claim 22A (and claim 1 on the Defendants' construction) because the load is connectable in the way the claim requires, by virtue of the switches present which are set by the control means. The claim is a product claim, not a method claim. It does not require the actual connection of the load.

120. That renders irrelevant a very complex dispute which took place about whether the Defendants' customers would make the switch set-up described above. They certainly would use double ended loads – Scalexio is intended for that – so they would put a load in a physical configuration where the switches could be opened in the way set out above (and at that stage, I find the claim is met). The issue, if I were wrong that claim 22A is met merely by putting a double-ended load at the “Lego brick” is: would they be opened like that?

121. In this scenario, the relevant degree of likelihood would be that identified by the Court of Appeal in Grimme v. Scott [2010] EWCA Civ 1110 and cited in later cases: the supplier must know, or it must be obvious to a reasonable person in the circumstances, that a proportion of end-users – it need not be all of them — will intend to do the thing in question. But “speculative, maverick or unlikely use” does not count.

122. Given the multiple contingencies that have to occur before this point matters to the result, and the high degree of complication, I am going to be brief:

i) The single-ended use of the double-ended insertion identified above has an advantage: it allows a single ended load to be switched between high and low power under computer control without having to make manual changes.

ii) It also has disadvantages, since it takes up an extra ECU line which cannot be used for its normal purpose, and occupies the fail rails for purposes other than those for which they are meant.

iii) If a customer really wanted a switchable single-ended load they could do it with a relay without “wasting” an ECU pin or fail rail.

iv) In this set-up load connection and failure testing could not be done at the same time, and for many if not most ECUs removing the load to do failure testing (which Dr Matthews suggested) would itself trigger a fault state in the ECU. I accept Mr Hostmann's evidence on this.

v) Mr Hostmann was adamant that he had never experienced the set-up Dr Matthews proposed. Dr Matthews had never actually seen it, and Mr Dowen, who himself has a lot of experience in the art, would surely have given evidence of it if he had seen it.

123. Taking these matters into account, my conclusion is that the single-ended use of the double-ended load insertion is and always has been very unlikely indeed and has probably never happened. Dr Matthews' proposal in this respect was honestly offered and is not irrational, but the downside far outweighs the upside and its complexity militates against anyone ever having conceived of it outside this litigation. Such use would not be “maverick” but it is speculative and unlikely, in terms of the language used in Grimme.

28

Signal interface circuit boundary

124. I will explain the facts by reference to the Flexible In 2 line of the DS2680. I will refer to the following diagrams:

Diagram A:

Diagram B:

125. These diagrams overlap as I will explain.

126. Diagram A shows the digital voltage and digital and analogue current all on the line coming in from the ECU on the left (marked “signal”). This means that the 29Flexible In Line 2 can be used for analogue and digital purposes. CT is a current transformer which separates off the (digital) voltage as shown.

127. The triangles marked COMP are inverting comparators and the rectangle marked ADC is an analogue to digital converter. Their respective outputs go into the rectangle marked FPGA which is a field programmable gate array, an integrated circuit or silicon chip.

128. Prior to the comparators and ADC, the Defendants said that there was what they called a “real world signal” by which they meant it still had e.g. the frequency characteristics present at the ECU pin. Dr Matthews agreed with this in substance if not in terminology.

129. Diagram B shows what is inside the FPGA. The boundary of the FPGA is marked by the dotted line. This is a simplified version of a diagram used at trial; it has been simplified to remove what the Defendants assert is confidential information.

130. The top left part of diagram B is upside down compared with diagram A, in that the ADC is above the comparators, but this is just a matter of presentation, not substance. As it enters the FPGA the output of the comparators and of the ADC is no longer what the Defendants would call a “real world signal” as it no longer has e.g. the frequency characteristics to which I referred above. It is truly numerical data, although in a sense this is a philosophical point because it is at a physical level just electricity.

131. Within the FPGA, the Microcode Machine controls whether the data on the digital and/or analogue paths is used. If they are not used, the data on the analogue path is held at the ADCSPI and does not reach the FIFO/MEM, and the data on the digital path is held at the LATCH CTRL and likewise does not reach the FIFO/MEM. It is possible for one or the other or both to be allowed to pass.

132. The Defendants contend that the signal interface circuit within the meaning of claim 1 ends outside the FPGA when the “real world signal” is changed into numerical data at the comparators and ADC. Thus, they say, there is no control means in the signal interface circuit which can selectively enable and disable any digital and analogue circuit portions.

133. Another way of looking at this is in terms of a contention by the Defendants that the FPGA is “in the simulator”, because they say the simulator is that which measures the real world signal so as to render it into numerical data.

134. A further facet of much the same argument is that the Defendants say that nothing in the FPGA is enabled or disabled; it is merely that data is not processed when it is not passed to the FIFO/MEM.

135. I do not agree with the Defendants about any of this:

i) I do not see that claim 1 contains any words compelling the narrow view for which they contend. It requires identification of the simulator, but not a narrow view of what that is.

30

ii) It does not make sense to say that what the Microcode Machine does is not to enable or disable. It prevents further flow to the FIFO/MEM while leaving the comparators and ADC “on” so that they still are producing an output, but exactly the same can be said about the analogue and digital parts (32 and 34) in the input path in the Patent – they are always on and always producing an output, it is just prevented from passing any further when the switches 36 are open.

iii) [0019] in the Patent characterises the output of gate 32 by saying it “can be used directly by the simulator 16”. This is admittedly a “real world signal”, but it still supports the idea that that which can be used directly by the simulator can still be within the signal interface circuit.

iv) It is sensible to acknowledge that the issue here is of the application of words chosen by the patentee to a new technological situation which he or she did not have in mind. I agree with the Claimant that it is right to have in mind the observations of Lord Hoffmann in Kirin-Amgen, 2005 RPC 9 at [80]:

“I do not dispute that a claim may, upon its proper construction, cover products or processes which involve the use of technology unknown at the time the claim was drafted. The question is whether the person skilled in the art would understand the description in a way which was sufficiently general to include the new technology. There is no difficulty in principle about construing general terms to include embodiments which were unknown at the time the document was written. One frequently does that in construing legislation, for example, by construing “carriage” in a 19th century statute to include a motor car. In such cases it is particularly important not to be too literal. …”

Of course, aspects of Kirin-Amgen have now been drastically curtailed or overruled, but these observations are in my view unaffected.

136. I also think that in a pragmatic sense there is no problem in identifying where the simulator in the Defendants' products actually is. The following diagram from the PPD shows it:

31

Figure 5: Example system for simulating crankshaft and Injection signals .

137. Here, the DS2680, which include the FPGA, is described as the I/O; the real meat of the simulator is in the “Simulink”, beyond and separate from the DS2680. It is uninformative and unhelpful as well as wrong to call the FPGA prior to the FIFO/MEM “the simulator” just because it uses numerical data and after the real world signal has been measured.

138. Since the FPGA is not in the simulator (but prior to it) it is, in the sense of the Patent, quite properly called part of the signal interface circuit within the meaning of claim 1. The relevant claim features are met.

VALIDITY

139. I will include under this heading the grounds on which revocation is sought, and the objections to amendment.

Obviousness

140. I intend to apply the Pozzoli analysis. As to questions 1 and 2, I have identified the skilled addressee and the CGK above.

Woermann

141. Woermann is a 1996 publication in the Transactions of the Society of Automotive Engineers.

142. Woermann concerns CARTS (“Computer Aided Real-Time Test System”), which was a commercial product developed at the University of Kassel in conjunction with Volkswagen. For this reason, it would be of real interest to the skilled addressee, and taken seriously. Mr Hostmann saw the system in real life, although only somewhat cursorily on a site visit. His having seen it is not relevant to the skilled addressee's understanding of the document's contents, obviously, but Counsel for the Claimant relied on it in relation to “why not done before”.

32

143. Woermann's title is “CARTS – A Hardware in the Loop Simulator for Test and Development of Automotive Control Units”.

144. The hardware and set-up is addressed in the Abstract, the Introduction and a section titled “Hardware” over the last three pages. In between there is a lengthy and complex mathematical treatment of real time models. I do not think its presence is relevant, and the skilled addressee would not be distracted by it. He or she would be interested in the hardware and software taught.

145. The abstract says the following:

“ABSTRACT

Advanced passenger car control is based on multiple electronic control units (ECUs), performing complex control algorithms and diagnostic functions for the different power train components like combustion engine, automatic transmission, brakes or chassis. For research and development the engineers need tools to test and verify either the reliability of new control strategies implemented in the ECUs or the interaction of different ECUs in a car. These tests should be done to the highest extent in the laboratory to reduce costs and risks which are involved in test stands or experimental cars. Therefore the optimal solution is the operation of the ECUs in a real-time closed loop environment. In this paper a real-time simulator, called CARTS® (Computer Aided Real-Time Test System) (figure l), is presented which is adaptable by a modular structure in hard-and software and a scaleable computing power to various ECUs or ECU networks, to various user demands, and to different simulation models. The paper gives a survey of the modelling methods, which CARTS offers and the requirements regarding hard- and software due to the red-time conditions.”

146. It was pointed out that Mr Hostmann misquoted the section starting “… which is adaptable …”. I accept it was accidental and elsewhere in his written evidence he got it right. In any event, the message is that an adaptable, modular system is provided for situations with various ECUs or ECU networks. A similar message is conveyed in the left hand column on the second page (1455).

147. The description of the Hardware section is written around figure 13, which is introduced at the start of the section. I reproduce figure 13 here:

33

148. The description of the I/O system which follows refers among other things to various signals, which it is accepted include both typically analogue (knock signals) and typically digital (injection time and angle) signals.

149. The text in the left hand column just above figure 13 (page 1461) refers to the possibility of connecting real components such as actuators as loads, and “[t]he vehicle electrical system is represented by an adjustable power supply”.

150. In figure 13, the simulator is in the VME bus computer on the left, with the signal generation and signal measurement in the I/O CPUs.

151. The Defendants' case focused on the I/O subsystem, which it said was the signal interface circuit of claim 1 of the Patent. This includes level adaption, signal generation, real parts/loads, and the adjustable power supply which I have already mentioned. It also includes a “switch matrix”.

152. The switch matrix is a key part of the argument. There is almost no description of it. Nonetheless, it is plain, to my mind, and the experts agreed, that its function was to route signals between the ECU and the various components of the I/O 34subsystem, including through analogue signal conditioning or digital signal conditioning.

153. However, there was a further vehement debate about whether the switch matrix was software controllable or consisted of an array of manual switches. Unless it was software controllable it would not meet all the requirements of the claims.

154. Thus in the context of Woermann, the relevant gap between it and the claims of the Patent for the purposes of Pozzoli question 3 lies in the switch matrix and the question is how it would be obvious to configure and control it. It is fiddly to express this in terms of claim features, although essentially it depends on features (e)(i) and (ii) of claim 1, features (c) to (h) of claim 10, and feature (c) of claim 22A. However, they all go together if the switch matrix is under computer control doing the signal routing task that I have identified above.

155. I move on to Pozzoli question 4.

156. In my view, Woermann is not sufficiently explicit for one to be able to conclude that the switch matrix is disclosed with clarity as being computer-controllable, and this is probably why (realistically) it is not asserted as an anticipation. I consider in a moment what was obvious.

157. However, before I come to that I note that it follows from the switch matrix being the means to route signals as described above, that Woermann provided the flexibility of being able to adapt the interface between ECU and simulator without having to make a bespoke interface afresh every time there was a new or different ECU or simulator. So the Claimant's “why was not it not done before” argument does not get off the ground over Woermann as it relates to flexibility. The issue over obviousness is a second-order one of whether, given that flexibility was provided by the switch matrix, it would be obvious to put it under computer control.

158. In a passage of cross-examination of which the high point was T3/423, Dr Matthews very clearly accepted to my mind that it was (I quote a key question and answer, but I have considered the evidence as a whole):

Q. Even if your skilled person considered that the switch matrix was manual, you are not suggesting, are you, that as at March 1999 there would be anything inventive in switching from a manual switch matrix to one which was under software control, are you?

A. No, that is not my intention at all. I just did not read the paper to mean that the switch matrix was under software control because that software control is not shown. But I have to accept, based on the evidence presented to me, that software configureable switch matrices existed at the time and, therefore, it would not be an inventive step in terms of understanding that software configuration of a switch matrix was possible.

35

159. It must be noted that Dr Matthews said that his view was given “on the basis of the evidence presented to me”, by which he meant Mr Hostmann's evidence and documents about switch matrices, and Counsel for the Claimant sought to say that that evidence did not support Dr Matthews' acceptance. I do not agree. My overall impression was that Dr Matthews' acceptance was more general; nonetheless, I will go on to discuss the evidence to which he was referring.

160. The Defendants have not been able to identify the specific switch matrix used by CARTS, or indeed, to my mind, to come up with a specific off-the-shelf software-controllable switch matrix which, unmodified, would meet the demand that CARTS would have in terms of number of connections (which might be very large, up to 100x100) and power requirement. It was argued that scrutiny of the photograph on the first page of Woermann showed that the switch matrix was powered, but I found that unconvincing. It is too unclear and the clues too few.

161. However, I do think the Defendants have done enough to show that in all likelihood it would have been possible to obtain an appropriate switch matrix from a commercial source, or have one made by such a source. Hewlett Packard and Pickering were two such sources, and I found Mr Hostmann's evidence on this convincing. This possibility does not mean that the CARTS switch matrix actually was software controllable, though.

162. In addition, I am confident based on the evidence that the notional skilled addressee could make such a switch matrix without undue effort or invention, if they wanted to. Mr Hostmann said so, and I accept his evidence that it is a fairly straightforward task involving essentially connecting up a large number of relays in an array. Further, the Patent itself assumes that the skilled addressee could do it. This is still in the realms of obviousness, not what Woermann actually shows.

163. A further point made by the Defendants was that the switch matrix was the only place where failure insertion functionality could be incorporated. I accept this, but again it is an obviousness point since Woermann does not refer to failure insertion. I agree that it would be obvious to use Woermann's set-up in a system with failure insertion, since that was a CGK feature in HIL, and this is another reason why it would be obvious to use a computer-controllable switch matrix.

164. The Claimant pointed out that (a) there is simply nothing in figure 13 to show what the switch matrix actually is, and (b) there are no control lines leading to it from the VME bus computer, or any other computer. As to the first of those points, I agree, although it is clear what the switch matrix does, for reasons given above. As to the second, I also agree and it is perhaps the Claimant's best point, but it is possible that the authors were trying to show only the signal flow through the channels of the HIL system. Another possibility is that they thought it would make the figure too messy or confusing – similarly the control lines in figure 1 of the Patent are not taken all the way to the switches that are controlled.

165. For all these reasons, I find that Woermann does not disclose the switch matrix as computer-controlled, but it would be obvious to make it so.

166. That disposes of claim 1 of the Patent, and claim 10 as well. It also disposes of claim 22A since the connections in the switch matrix to the loads would be under 36computer control. Claim 24 falls because the power supply is explicitly shown to be adjustable and anyway the CGK included having a variable power supply to simulate low battery and the like.

167. The Claimant rather belatedly said that claim 32 was not caught by the attack over Woermann even if claim 1 was. The argument was that Counsel for the Defendants had said (when I asked him) that the signal interface circuit of claim 1 was the whole of the I/O subsystem, and that claim 32 required a plurality of those, while Woermann had only one.

168. I do not think there is anything in this. I asked Counsel for the Defendants the question in connection with the construction/infringement argument over the boundary between the signal interface circuit and the simulator, which is a different context. In any event, I accept Counsel for the Defendants' submission that the I/O subsystem of Woermann is shown schematically, with the intention that in a real system there would be many level adaption units, some analogue and some digital, many loads, and so forth, all flexibly connecting multiple ECU pins. A single “signal interface circuit” would be the subset of those components in a single channel, and there would be multiple channels.

169. Thus overall I think it was entirely obvious to make the switch matrix computer-controllable. One cannot know with certainty what Woermann and his workers themselves did, but it seems really quite likely that they had a computer-controlled version.

170. The Claimant relied heavily on “why was it not done before” on Woermann and on obviousness generally. I have dealt with this in relation to mindset when dealing with CGK and in relation to Woermann specifically where I have identified that it provided flexibility and removed the need for bespoke interfaces even if not computer-controlled. So I have thought about it, but reject it.

DS1103

171. The DS1103 was a controller board sold by the Defendants before the priority date. The Defendants rely on disclosures about the DS1103 in the manuals for it, which are admitted to have been available to the public (“the Manuals”).

172. As I have said in the context of infringement, the claims of the Patent are product claims, not method claims. If the DS1103 inherently had all the physical features of claim 1, (including physical suitability to be an interface of between a simulator and a system under test), then it would anticipate, whether or not it was intended for use in HIL, and whether or not it was used for HIL. However, it is not alleged to anticipate, in particular because there is no disclosure in the Manuals of connecting it to a load as claim 1 requires. So the intended and obvious use of the DS1103 becomes relevant because, in broad terms, the Defendants say that it would be obvious to use the DS1103 for HIL, and in certain circumstances that would, without invention, involve attaching a load.

173. There are various aspects of the Manuals and the natural uses of the DS1103 that are relevant:

37

i) The DS1103 had four Mixed Mode pins, which could be used for analogue or digital signals (analogue input or digital I/O). Their use would satisfy features (c) and (d) of claim 1.

ii) The DS1103 could in principle be used for HIL, but it could also be used for RCP, and the Claimant says that that was its natural and main purpose.

iii) The DS1103 did not have onboard signal conditioning.

174. In addition to the Manuals, the Defendants said that the skilled addressee would, by obvious means, find and read the Texas Instruments Datasheet for the slave digital processor used in the DS1103. The Datasheet gives more information about the Mixed Mode pins. The Defendants said that the Datasheet was not necessary to the obviousness case. I do not think there was clarity about the part it was said to play.

175. At a general level, I found the Defendants' obviousness case from the DS1103 complex, elaborate and inchoate. It included at least the following elements:

i) A decision to use the DS1103 for HIL.

ii) A decision to implement that using the Mixed Mode pins.

iii) A decision to apply HIL to a device such as a digital camera (as that could work at about 5V so the absence of signal conditioning would not matter).

iv) A decision to apply a load to enable onboard diagnostics to be tested.

176. None of these can be taken for granted:

i) Although using the DS1103 for HIL is mentioned very briefly in the Manuals, I accept Dr Matthews' evidence that the much more natural use was RCP. Dr Hostmann found a few HIL applications of the DS1103 after the priority date, but they are beside the point to what would have been thought at the priority date, and involved signal conditioning, it seems.

ii) The use of the Mixed Mode pins was a complex matter and the manuals pointed out real downsides or at least trade offs associated with their use.

iii) The application of HIL with the DS1103 to low voltage control units was not flagged up anywhere.

iv) It was possible to conceive of low voltage devices with onboard diagnostics but there was no focus on them in the HIL world.

177. Piecing together the Defendants' obviousness case involved a trawl through many pages of the Manuals and the Texas Instruments datasheet.

178. The Defendants argued that the obviousness case over the DS1103 was just the application of it in an obvious context. I disagree; the case was much more elaborate than that.

38

179. I thought that the Defendants' case over the DS1103 was laden with hindsight and thoroughly artificial. In essence, it involved an ex-post appreciation in the context of this litigation that there was an analogy between the Mixed Mode pins of the DS1103 and the Flexible In lines of Scalexio, followed by a stepwise construction, guided by hindsight, of an application for the DS1103 that would lead to the insertion of a load in just the right way. I reject the attack.

Insufficiency

180. The Defendants alleged that if, contrary to their main case, the signal interface circuit boundary infringement point went against them, then all the claims were insufficient because the skilled addressee would not be able to determine where the signal interface circuit ended and the simulator began.

181. This is not an insufficiency to do with the skilled addressee's ability to make something within the claim that works, or with excessive claim scope, but the kind of insufficiency that arises from insoluble uncertainty about what the claim covers. It was considered by the Court of Appeal in Anan Kasei v Neo Chemicals and Oxides. Lewison LJ held at [101]:

“In my judgment Mr Meade was right to submit that there is a difference between a fuzzy boundary in that sense, and a boundary whose location is impossible to ascertain. It may be impossible to ascertain because it is described in meaningless terms (the famous example of Pinocchio units given by Jacob J in Milliken Denmark AS v Walk Off Mats Ltd [1996] FSR 292); or because the patent does not explain how to decide where the boundary is (as in Kirin Amgen itself). Patent lawyers have traditionally called this “ambiguity” but I do not think that that expression is accurate. Something is ambiguous when it is capable of having two (or more) meanings, and ultimately the court will be able to decide which of them is the correct meaning. Rather, in my judgment, the issue here is that of uncertainty. If the court cannot ascertain the boundary, having used all the interpretative tools at its disposal, it must conclude that the specification does not disclose the invention clearly enough and completely enough for it to be performed by a person skilled in the art.”

182. Floyd LJ said at [27]:

“For my part, I do not agree that the objection of uncertainty is answered simply because there is something within the claim which is clear, if there is a large territory (more than a fuzzy boundary) where the claim is uncertain.”

183. The allegation fails. I have not found the infringement point especially hard to determine, but even if it were a closer call, it is no more than a typical situation where there is an arguable dispute over infringement. The existence of such a dispute does not in itself mean there is insufficiency. It is also not a situation where the patentee has used nonsense language or set the boundary of the claim in terms of a comparison with something that cannot be identified.

39

Added matter

184. This is a point directed to claim 22A of the proposed amendments and so is an objection to amendment rather than a ground for revocation of the Patent as granted.

185. The allegation is one of added matter by intermediate generalisation, and is to the effect that the basis for claim 22A comes from the preferred embodiment (as described at pages 6 and 8 of the application for the Patent, WO 2000-057342 A1, “the Application”, corresponding to [0025]–[0027] and [0037] of the Patent's specification), but that claim 22A takes only some and not all of the features of that embodiment. In particular, reliance was placed on the fact that the preferred embodiment has a shift register, but claim 22A does not require one.

186. There was no dispute about the law, which is to be found in the often-cited decision of Pumfrey J in Palmaz's European Patents [1999] RPC 47 at p.71:

“If the specification discloses distinct sub-classes of the overall inventive concept, then it should be possible to amend down to one or other of those sub-classes, whether or not they are presented as inventively distinct in the specification before amendment. The difficulty comes when it is sought to take features which are only disclosed in a particular context and which are not disclosed as having any inventive significance and introduce them into the claim deprived of that context. This is a process sometimes called ‘intermediate generalisation’”.

187. I do not think the reader of the Application would think that there was any necessary connection between having a load with the features of claim 22A and the form of the control means being a shift register. So the Patent does not disclose anything new. Specifically, it does not disclose for the first time that the features of claim 22A could be used in the absence of a shift register. The fact that a shift register was a free standing item which might or might not be used is emphasised by claim 9 of the Application.

188. Therefore the added matter objection fails.

SECTION 62(3) ISSUES

189. These points do not arise because the Patent is invalid and the action fails. I will however make some brief observations and findings of fact in case this matter goes on appeal.

Applicable Law

190. Section 62(3) is as follows:

(3) Where an amendment of the specification of a patent has been allowed under any of the provisions of this Act, the court or comptroller shall, when awarding damages or making an order for an account of profits in 40proceedings for an infringement of the patent committed before the decision to allow the amendment, take into account the following –

(a) whether at the date of infringement the defendant or defender knew, or had reasonable grounds to know, that he was infringing the patent;

(b) whether the specification of the patent as published was framed in good faith and with reasonable skill and knowledge;

(c) whether the proceedings are brought in good faith.

191. Floyd J as he then was considered the section in Nokia v. IPCom [2011] EWHC 2719 (Pat) (using the acronym GFRSK for “good faith and reasonable skill and knowledge”):

“15. Prior to its amendment with effect from April 2006 section 63(2) was in the following form:

‘(2) Where in any such proceedings it is found that a patent is only partially valid, the court or the comptroller shall not grant relief by way damages, costs or expenses, except where the claimant or pursuer proves that–

(a) the specification of the patent was framed in good faith and with reasonable skill and knowledge, and

(c) the proceedings are brought in good faith, and

In that event the court or the comptroller may grant relief in respect of that part of the patent which is valid and infringed, subject to the discretion of the court or the comptroller as to costs or expenses and as to the date from which damages or an account should be reckoned.’

16. Under the unamended section a patentee had to prove that the specification was framed with GFRSK as a pre-condition of the specified relief (although, somewhat oddly, not if he claimed an account of profits). Where a patent was held partially valid and the patentee wanted damages, the issue would inevitably arise: the court was precluded by statute from awarding the specified relief unless satisfied on the issue. There was also no doubt that the burden of proof on the issue would lie with the patentee: the section places the burden on the patentee explicitly. A finding of lack of GFRSK in framing the specification was an absolute bar to damages: there was no basis in the section for reducing damages pro-rata having regard to the seriousness or materiality to the defendant of the faulty draftsmanship or lack of good faith.

17. It would appear that the amendment was made in order to secure this country's compliance with the Directive on the Enforcement of Intellectual Property Rights 2004/48/EC. Article 13 of that Directive provides:

‘1. Member States shall ensure that the competent judicial authorities, on application of the injured party, order the infringer who 41knowingly, or with reasonable grounds to know, engaged in an infringing activity, to pay the rightholder damages appropriate to the actual prejudice suffered by him as a result of the infringement.

When the judicial authorities set the damages:

(a) they shall take into account all appropriate aspects, such as the negative economic consequences, including lost profits, which the injured party has suffered, any unfair profits made by the infringer and, in appropriate cases, elements other than economic factors, such as the moral prejudice caused to the rightholder by the infringement;

or

(b) as an alternative to (a), they may, in appropriate cases, set the damages as a lump sum on the basis of elements such as at least the amount of royalties or fees which would have been due if the infringer had requested authorisation to use the intellectual property right in question.

2. Where the infringer did not knowingly, or with reasonable grounds to know, engage in infringing activity, Member States may lay down that the judicial authorities may order the recovery of profits or the payment of damages, which may be pre-established.’

18. A prohibition on awarding damages by reference to circumstances which may have no bearing on the prejudice suffered by the patent proprietor might be thought to be a restriction on damages which goes beyond what is permitted under the Directive.

19. The amended section 63(2) requires the court to “take account of” the matters in subsection 2(a) to (c) when awarding the relevant relief (which now includes an account of profits as well). This differs from the unamended section in a number of respects:

i) There is now a list of three factors to be taken into account.

ii) Neither GFRSK nor any of the other factors is an absolute precondition to obtaining relief: they are now merely factors to be taken account of in awarding relief.

iii) It follows that relief may properly be awarded despite a finding of lack of GFRSK. The section enables a graduated approach, taking account of the factors referred to and their seriousness.

iv) The section no longer explicitly allocates the burden of proving GFRSK on the patentee.”

192. And then at [29] he said:

“28. When GFRSK was expressed as a condition of granting relief at all, the policy which lay behind section 62(3) was not difficult to see. It was to 42ensure that patents were drafted with GFRSK. Where GFRSK was proved it was no answer to say that it had no impact on the defendant, or even the public at large. The sin of failing to deploy GFRSK was to be visited with the punishment of withholding relief.

29. I think that the amended section is not intended to act as a sanction against careless drafting or lack of good faith when these matters have no bearing on the damages or other remedy sought by the patentee. Firstly, it seems to me the natural reading of the section no longer justifies such an approach. The court is only required “to take account of” GFRSK “when awarding” the relief. Absent any other direction, it seems to me that the court is now only required to see what bearing the lack of GFRSK has on the particular relief being sought. Secondly, if the section still has a wider import, so that damages and other relief can still be cut down by reference to matters which have no bearing on that relief, then all the section has achieved is to render discretionary a sanction which was previously mandatory. If the purpose of the amendment was to comply with the requirements of the Enforcement Directive, then I cannot see how a discretionary sanction is any less objectionable than a mandatory one. Both give the court power to reduce damages below the actual prejudice suffered by the patentee.”

193. It is against that background that I am asked to make findings, which would be factors potentially affecting any relief that was awarded. However, none will be, because the Patent is invalid.

The points

194. The Defendants raised three points.

Defendants did not know or have reason to believe there was infringement

195. I have held that the claims are infringed, and clearly the Defendants knew all the facts that made that so. This part of s. 62(3) is particularly connected with the amendment to deal with the Enforcement Directive and is there to ensure that Defendants who know or have reason to believe that there is infringement do have to pay compensation.

196. The Defendants' argument was that they thought the Patent might be invalid. They have turned out to be right, over one particular piece of prior art. But a mere belief that a Patent might be invalid cannot in my view in itself engage s. 62(3)(a), at least not in a normal case and without more. Terrell on the Law of Patents 19th Ed. 2020 at 21–186 says (emphasis supplied by the Defendants):

“…the defendant presumably needs to know, or have reasonable grounds to know: (a) that the patent exists, and (b) that their acts fall within the scope of the monopoly thereof as properly construed. In addition, since invalidity of the patent is a defence to infringement, it would appear to follow that the defendant who knows that their acts fall within the scope of such monopoly but who does not know or have reasonable grounds to know that the patent is valid, will not have the relevant state of mind . 43However, since a granted patent is prima facie valid, it is submitted that a defendant would need to be able to adduce evidence in order to explain why the prima facie position did not, of itself, amount to reasonable grounds for knowing that the patent was valid.”

197. I think s. 62(3)(a) is primarily about what the defendant is doing and what they know or believe about claim scope, and not about validity. To the extent Terrell suggests that a mere belief in a possible attack on validity is enough, I disagree, otherwise the provision will be engaged in almost every case where the patent in suit is amended.

Specification drafted in good faith and with reasonable skill and knowledge

198. This was not really pursued. I have seen nothing to suggest that the specification was not so drafted.

Proceedings brought in good faith

199. The Claimant had only publicly available knowledge of the Scalexio products when it brought proceedings, but it had a reasonable basis to assert infringement and has indeed succeeded, albeit on a narrower front than it pleaded originally. Dr Hanselmann acknowledged that Mr Dowen believed the Patent was infringed.

200. The Defendants alleged “covetous claiming”. This is not itself a matter listed in s. 62(3), although it was a basis for opposing amendment when that was a much more discretionary exercise. The Defendants argued, with the support of Terrell, 21–179, that it was a factor in relation to the good faith with which the proceedings were brought.

201. I accept that this might be so in the right situation, but I find that there was no covetous claiming. The allegation appears to be based on the Claimant's knowledge from prosecution of some prior art called El Ayat and Hayashi, coupled with the fact that it applied to amend the Patent. This does not begin to make out a case of covetous claiming since there was no proof offered that the granted claims were invalid over that art, let alone that the Claimant thought so. Further, the Claimant proposed sensible amendments to the Defendants before bringing proceedings (albeit that it did not apply to amend until later).

202. So I hold the proceedings were brought in good faith.

PRE-ACTION PROTOCOL AND THE AUGUST 2019 MEETING

203. I do not think going into this was at all a good use of time at trial. I feel able to make some findings, but they go to costs and not the merits. They are also only part of the picture on costs. For example, it will be necessary after judgment to go into the preparation of the PPDs and whether any inefficiency in their preparation was the fault of one side or the other.

204. In addition, matters such as pre-action conduct are normally, without difficulty, resolved without oral evidence and cross-examination.

44

205. Briefly put, there was a settlement meeting in August 2019, attended by Mr Dowen and Mr Raby (a consultant) for the Claimant and Dr Hanselmann and Mr Gruhn for the Defendants. Privilege has been waived by both sides in relation to the meeting.

206. The meeting was unsuccessful in terms of the parties reaching a settlement or even progressing towards one. The reasons are somewhat complex, but I find:

i) The parties' expectations were different. Mr Dowen expected to have a financial discussion. The Defendants' solicitors had said in correspondence that someone with authority to discuss financial matters would be attending. This was true, in the sense that Dr Hanselmann had authority, but he was not in fact prepared to discuss financial matters. This apparent failure of communication on the Defendants' side was poor and created unnecessary friction.

ii) On the other hand, when Dr Hanselmann tried to explain why there was no infringement by drawing on a flipchart, Mr Dowen said that that was a pointless approach. The meeting ended prematurely shortly after.

iii) Clearly the Defendants did not attend for no reason, and put time and money into the meeting. But that does not mean they were really prepared to engage on technical matters, or to reveal information about their products. I think it is likely that Dr Hanselmann probably intended to sketch on the flipchart what the Defendants' contentions about non-infringement were.

207. The significant information that did come out at trial, which is consistent with my overall impression, is that the Defendants had a strategy of not giving information about their products, which they said, at the meeting, was based on legal advice. This was stated in Mr Raby's note of the meeting and Dr Hanselmann admitted it in his oral evidence.

208. This was not appropriate and not consistent with the pre-action protocol. If the Defendants needed to provide materials under terms of confidence there are ways to do that.

209. This issue is all rather tangled up with a debate, which ran up to trial, about whether the Defendants should provide their user manuals in disclosure. At the CMC, the Claimant made an unsuccessful application for them, and the Deputy High Court Judge hearing the CMC said that there had been extensive engagement by the Defendants. I do not disagree with her decision or statements based on the situation before her, but I have more information. As it turns out, having the manuals has been unnecessary to determining infringement, but I think as time went on, it should have become apparent to the Defendants that provision of the manuals would limit further argument and suspicion, in circumstances where secondary infringement was alleged so that the guidance given to users was relevant. Imprecise information in the PPDs about what users were told was not a good course to take.

210. I should make it clear that this is not a general finding about specifically what Defendants have to do in the pre-action stages in patent cases. There may be 45valid reasons for limiting the provision of information or timing its provision. It may also be appropriate to withhold information if early discussions give potential defendants a clear idea that the patentee's claim is speculative. What was wrong here was the taking of a deliberate strategy of non-engagement, in circumstances where there was, objectively speaking, adequate information for the Defendants to appreciate that the Claimant's infringement case was tenable, as I expect the Defendants probably did in fact appreciate.

ULTRA VIRES

211. The Defendants allege that the Assignment to the Claimant by Add2 Limited, which was under deed and for no consideration, was ultra vires and void as an unlawful distribution at common law (the statutory provisions are not relied on). If that succeeds, the Claimant relies on the Confirmatory Assignment.

212. The ultra vires allegation was introduced by amendment by the Order of Bacon J of 8 February 2021. So it came in very late.

Background facts not in dispute

213. I base the following statement of the basic facts from the Claimant's skeleton. They are not controversial:

214. In brief summary:

i) Mr Dowen was the founder of Add2 Limited;

ii) By early 2018, Mr Dowen was one of 3 directors of Add2 Limited and had a 94% shareholding in it. The other directors were his wife Hilary Dowen (who also had a 1% shareholding) and a business acquaintance of Mr Dowen, Simon Clarke (with a 5% shareholding);

iii) Add2 Limited was a small company with net assets in the low 100s of thousands of pounds;

iv) Mr Dowen originally filed the Patent with the UK Patent Office in 1999 in his own name. He sold it to Add2 Limited in 2008 for £36,800, which in his recollection represented the costs of prosecuting and maintaining the patent family to that time;

v) From early 2016, the shareholders entered negotiations with Avondale Corporate Limited (“Avondale”), which was a business sales and acquisitions consultancy, with a view to engaging Avondale to find a corporate purchaser for Add2 Limited. Avondale was ultimately engaged in October 2016 and sought to find a buyer for Add2 Limited from about March 2017. Avondale marketed Add2 Limited over the remainder of 2017 and early 2018 but was unable to find a purchaser;

vi) Mr Dowen, Mrs Dowen and Mr Clarke agreed that they would form a new company and assign the Patent and associated rights to it. The new company 46(the Claimant) was incorporated, with the initial shareholdings 90% to Mr Dowen, 5% to Mrs Dowen and 5% to Mr Clarke;

vii) By January 2018, Avondale had still not found a purchaser for Add2 Limited. Accordingly, attempts to sell Add2 Limited were wound down, and Add2 Limited formally assigned the Patent and associated rights by way of the Assignment;

viii) Shortly afterwards, in February 2018, Mrs Dowen and Mr Clarke transferred their shareholdings in the Claimant to Mr Dowen.

215. Further, as regards Add2 Limited:

i) It was solvent at the time of the Assignment and was not rendered insolvent by the Assignment;

ii) Add2 Limited continued to trade as it had before into 2019. However, in early 2019 its business was severely harmed by a dramatic decline in UK automotive sales. As a result, the decision was taken to put it into creditors' voluntary liquidation; a liquidator was appointed on 20 September 2019.

Further findings of fact

216. I find that Mr Dowen was motivated primarily by a desire to transfer the risky exercise of seeking to monetise the Patent to the Claimant, while protecting the steady business of Add2 Limited, in particular from costs liabilities. He distinguished the useful, productive intellectual property of Add2 Limited in the nature of know-how and product designs, which supported its trading business, from the Patent, which was not achieving anything.

217. I make it clear that Mr Dowen acted honestly at all times and I do not think he gave any thought to the idea that he was disadvantaging potential creditors of Add2 Limited. That does not mean that he did not do so, however.

218. I find that Mr Dowen thought that the exercise of licensing and/or enforcing the Patent would be uncertain, laborious and risky. Possibilities that he clearly had in mind as realistic were:

i) Bringing proceedings with litigation funding, but at the time of the Assignment it was not at all certain such funding could be obtained.

ii) Settling those proceedings on the basis of royalty payments.

iii) Concluding licensing agreements without litigation.

219. I find that Mr Dowen thought that one realistic possibility, the worst case, was that litigation would be brought and taken to trial, and that the Patent would be revoked or held not to be infringed.

220. I find that Mr Dowen also thought there was a realistic possibility of making a lot of money from the Patent. He did one calculation showing a yield of about £20 million. This was probably a pipe dream, but nonetheless he thought that the 47potential recovery was large. Similarly, statements he made in the context of the Avondale discussions had an element of puff about them, but evidence an underlying belief on his part that there was real value in the Patent.

221. Overall, I find that Mr Dowen thought that the upside well outweighed the downside and that exploiting the Patent was a valuable business opportunity that it would be worth his while putting considerable amounts of his own time and effort into. The fact that it was seen as worth paying renewal fees for the Patent further supports this view.

222. I also find that Mr Dowen essentially viewed the Patent as his property rather than that of Add2 Limited. This is evidenced by, for example, the fact that he did not give any thought to Add2 Limited's need for a licence under the Patent. This is quite different from the kind of abusive behaviour an example of which is to be found in In re George Newman & Co [1895] 1 Ch 674 (see below), and instead reflects an insufficient appreciation of the status of Add2 Limited as a separate legal entity. But it is a significant part of the picture.

Applicable Law

223. The Claimant accepted the following points of law:

i) As a general principle, a company may only make a “distribution” (i.e. pay a dividend) to shareholders out of profits available for that purpose, not out of the company's capital;

ii) The ability of a company to make a distribution to shareholders is regulated by two sets of rules: first, by statute, under Companies Act 2006 (“CA 2006”) Part 23, ss. 829–853; and secondly, at common law. Those common-law rules are expressly preserved by CA 2006 s. 851;

iii) At common law, where a company seeks to make a distribution to shareholders (in effect, to pay a dividend) out of capital rather than out of profits, then the distribution will be ultra vires the company and void as a “fraud on the company's creditors”, even where the transaction is “dressed up” to look like something else;

iv) A transfer by a company to an entity owned or controlled by the shareholder may engage the principle just as much as a transfer to the shareholder himself (see Aveling Barford Ltd v Perion Ltd (1989) BCC 677 (Hoffmann J) at 683B);

v) The principle may be engaged even if the company is not insolvent when it enters the impugned transaction, and even if it is not rendered insolvent by the impugned transaction (see Aveling Barford at 683F).

224. The parties also agreed that the key statements of principle for the present case are to be found in the leading judgment of Lord Walker in Progress Property Co Limited v Moorgarth Group Limited [2010] UKSC 55:

A question of characterisation

48

24. The essential issue then, is how the sale by PPC of its shareholding in YMS is to be characterised. That is how it was put by Sir Owen Dixon CJ in Davis Investments Pty Ltd v Commissioner of Stamp Duties (New South Wales) (1957) 100 CLR 392, 406 (a case about a company reorganisation effected at book value in which the High Court of Australia were divided on what was ultimately an issue of construction on a stamp duty statute). The same expression was used by Buxton LJ in MacPherson v European Strategic Bureau Ltd [2000] 2 BCLC 683, para 59. The deputy judge did not ask himself (or answer) that precise question. But he did (at paras 39–41) roundly reject the submission made on behalf of PPC that there is an unlawful return of capital “whenever the company has entered into a transaction with a shareholder which results in a transfer of value not covered by distributable profits, and regardless of the purpose of the transaction”. A relentlessly objective rule of that sort would be oppressive and unworkable. It would tend to cast doubt on any transaction between a company and a shareholder, even if negotiated at arm's length and in perfect good faith, whenever the company proved, with hindsight, to have got significantly the worse of the transaction.

25. In the Court of Appeal Mummery LJ developed the deputy judge's line of thought into a more rounded conclusion (para 30):

“In this case the deputy judge noted that it had been accepted by PPC that the sale was entered into in the belief on the part of the director, Mr Moore, that the agreed price was at market value. In those circumstances there was no knowledge or intention that the shares should be disposed of at an undervalue. There was no reason to doubt the genuineness of the transaction as a commercial sale of the YMS1 shares. This was so, even though it appeared that the sale price was calculated on the basis of the value of the properties that was misunderstood by all concerned.”

26. In seeking to undermine that conclusion Mr Collings QC (for PPC) argued strenuously that an objective approach is called for. The same general line is taken in a recent article by Dr Eva Micheler commenting on the Court of Appeal's decision, “Disguised Returns of Capital – An Arm's Length Approach,” [2010] CLJ 151. This interesting article refers to a number of cases not cited to this court or to the courts below, and argues for what the author calls an arm's length approach.

27. If there were a stark choice between a subjective and an objective approach, the least unsatisfactory choice would be to opt for the latter. But in cases of this sort the court's real task is to inquire into the true purpose and substance of the impugned transaction. That calls for an investigation of all the relevant facts, which sometimes include the state of mind of the human beings who are orchestrating the corporate activity.

28. Sometimes their states of mind are totally irrelevant. A distribution described as a dividend but actually paid out of capital is unlawful, however technical the error and however well-meaning the directors who paid it. The same is true of a payment which is on analysis the equivalent of a dividend, 49such as the unusual cases (mentioned by Dr Micheler) of In re Walters' Deed of Guarantee [1933] Ch 321 (claim by guarantor of preference dividends) and Barclays Bank plc v British & Commonwealth Holdings plc [1996] 1 BCLC 1 (claim for damages for contractual breach of scheme for redemption of shares). Where there is a challenge to the propriety of a director's remuneration the test is objective (Halt Garage), but probably subject in practice to what has been called, in a recent Scottish case, a “margin of appreciation”: Clydebank Football Club Ltd v Steedman 2002 SLT 109, para 76 (discussed further below). If a controlling shareholder simply treats a company as his own property, as the domineering master-builder did in In re George Newman & Co Ltd [1895] 1 Ch 674, his state of mind (and that of his fellow-directors) is irrelevant. It does not matter whether they were consciously in breach of duty, or just woefully ignorant of their duties. What they do is enough by itself to establish the unlawful character of the transaction.

29. The participants' subjective intentions are however sometimes relevant, and a distribution disguised as an arm's length commercial transaction is the paradigm example. If a company sells to a shareholder at a low value assets which are difficult to value precisely, but which are potentially very valuable, the transaction may call for close scrutiny, and the company's financial position, and the actual motives and intentions of the directors, will be highly relevant. There may be questions to be asked as to whether the company was under financial pressure compelling it to sell at an inopportune time, as to what advice was taken, how the market was tested, and how the terms of the deal were negotiated. If the conclusion is that it was a genuine arm's length transaction then it will stand, even if it may, with hindsight, appear to have been a bad bargain. If it was an improper attempt to extract value by the pretence of an arm's length sale, it will be held unlawful. But either conclusion will depend on a realistic assessment of all the relevant facts, not simply a retrospective valuation exercise in isolation from all other inquiries.”

Ultra vires — analysis

225. There is an unusual quality to the analysis, because my judgment that the Patent is invalid destroys its value. On the other hand, if I had found it valid and infringed it would have had real value in the form of damages from the Defendants that would be due, but that assessment could only be made now, following trial, with hindsight. At the time of the Assignment, the Patent was a sort of Schrodinger's cat, but I have found it was regarded by Mr Dowen as a valuable opportunity, overall.

226. Progress Property makes clear that I cannot answer the question of whether a transaction is an unlawful distribution by conducting an ex post valuation with hindsight. Even if I had found the Patent valid and infringed I could not have answered the question just by saying that the damages would far exceed the value given to the Patent in the Assignment (which was of course nil).

227. However, the present case is quite different from Progress Property, where, essentially, the transaction was at a gross undervalue because of a mistaken 50appreciation by the director who arranged it as to the legal position. In the present case Mr Dowen understood what the opportunity presented by the Patent was, albeit that he understood that it carried with it a lot of uncertainty, for known reasons.

228. I do not find it entirely easy to decide whether this is a situation where subjective intentions are relevant. Objectively speaking, the Patent had potential value and it might be said that simply giving it away for nothing could not be justified. On the other hand, it might be said that the Assignment was at a very low value and so fell into the category that Lord Walker described in Progress Property at [29]. On balance, I prefer the former view. Giving away a valuable opportunity for no value amounted to taking an asset out of Add2 Limited by voluntary distribution – that was its true substance.

229. However, even if I had considered subjective intentions, in the light of my findings above, I would have held that Mr Dowen regarded the Assignment as a transfer for nil value of a valuable opportunity. For reasons explained above, he was not dishonest and his motives included protecting Add2 Limited, but neither of those matters, nor the fact that Add2 Limited was solvent, change the fundamental analysis.

230. In reaching this conclusion I have borne in mind other points made by the Claimant:

i) It was contended that the Assignment was a “simple corporate restructuring”. In a sense it was, but that is just a label and the substance was that the exercise involved assigning away one of Add2 Limited's assets for no value. The situation could have been quite different if the “restructuring” had, for example, provided for Add2 Limited to share in the proceeds of the Patent, if any.

ii) It was contended that the assignment could not prejudice Add2 Limited's creditors because, being solvent, it had none. Of course it did have creditors – it was a trading company – but it was able to pay them until it became insolvent. In substance this was a submission that the ultra vires principle never applies to solvent companies, which is clearly wrong.

iii) It was pointed out that Add2 Limited's liquidator had not objected to the Assignment and had shown no support, when notified, for the ultra vires allegation. I do not get much from this, if anything. The liquidator knew that this litigation was going on, so that the Patent's value remained in limbo, and probably did not want to get drawn into a dispute. He might have taken a different line if things had gone well and Mr Dowen and the Claimant had licensed the Patent for significant amounts shortly after the Assignment. In any event, I have to make my own decision about the matter.

iv) Relatedly, the Claimant relied on the fact that the Defendants are outsiders to the transaction of the Assignment, not creditors or shareholders. However, if the Assignment was ultra vires then it simply had no effect in law. There is no limit on who can assert that fact.

51

v) The Claimant asserted that the value of the Patent was “nil, negligible or wholly speculative” at the time of the Assignment. I have essentially dealt with this above. Overall, it was regarded as representing a valuable opportunity, albeit a complex one which could come to nothing.

The Confirmatory Assignment

231. I have referred to this in outlining the issues, above.

232. The recitals to the Confirmatory Assignment refer (1) to the Assignment, (2) to the “further assurance” covenant of the Assignment, and (3) to the Defendants' challenge to the validity of the Assignment in these proceedings. They say at (4) that neither Add2 Limited nor the Claimant consider there to be merit in the challenge (as it turns out, my finding is that there is merit) but that Add2 did not want to incur any costs and, at (5) that “Add2 has therefore agreed for the avoidance of doubt to enter into this confirmatory assignment”.

233. The first operative clause is as follows:

“1. In consideration of the payment of its charges in respect of this confirmatory assignment, Add2 hereby assigns to [the Claimant] any and all right, title and interest in and to the Patents, together in each case with all statutory, common law and equitable rights, powers, benefits and rights of action appertaining to the same, to which it may be or to which it may become entitled as a result of the Proceedings.”

234. To my mind the effect of this is very clear, albeit that the wording is cumbersome. Confirmatory assignments tend to be a little tortured because of the tension that they purport to assign something against the background of a belief that there is nothing to assign. The effect is that if Add2 Limited still had the Patent, then it assigned it to the Claimant. It also assigned rights of action, including the present claim.

235. The reference at the end of the clause to “to which it may become entitled as a result of the Proceedings” is afflicted by the tension to which I have referred, but to my mind it just recognises that if (as has turned out to be the case) the Assignment were to be held ultra vires by the trial Judge, then Add2 would be confirmed to have the Patent and rights under it, and they would need assigning to the Claimant.

The Defendants' contentions on interpretation of the Confirmatory Assignment

236. The Defendants essentially argued that the Confirmatory Assignment was just the putting into effect of the Assignment itself, as shown by the reference in recital (2) of the Confirmatory Assignment to the further assurance covenant of the Assignment, and hence no remedy if the Assignment was void. This makes no sense and I reject it. The Confirmatory Assignment was a real assignment of the Patent and rights under it, and if such were needed then it would be being done for the first time.

52

237. The Defendants also relied on “as a result of the Proceedings”. They contended that if the transaction of the Assignment was ultra vires then Add2 Limited's title at the time of the Confirmatory Assignment was not “as a result of the Proceedings”. I have already dealt with this and have found that “as a result of the Proceedings” refers to findings the trial Judge might make. In any event, the clause earlier uses the words “to which it may be” which covers the possibility that Add2 Limited always had ownership.

The Defendants' other challenges to the Confirmatory Assignment

238. The Defendants alleged that the Confirmatory Assignment, if it had the effect for which the Claimant contended, would be void for the same reasons as the Assignment itself.

239. I reject this as unfounded, since the liquidator was acting in a different role and with different powers compared with the situation that applied to Add2 Limited at the time of the Assignment. He had the power, for example, to settle disputes affecting Add2 Limited's assets and probably he simply took the view that with the Patent under litigation it was not worth putting money into assessing in detail, or getting into a dispute with the Claimant over, the ultra vires issue.

240. In any event, even if the point was potentially arguable, in my view it was for the Defendants to articulate it properly by pleading and not to just try to run it out at trial, particularly given that the whole ultra vires issue was raised so late.

241. The Defendants also alleged that it was not shown that Add2 Limited still had title to the Patent at the time of the Confirmatory Assignment in view of the fact that Add2 Limited assigned certain intellectual property to another company, Darnford Systems Limited (also owned by Mr Dowen), in between the Assignment and the Confirmatory Assignment.

242. I reject this too. It is probable that the assignment to Darnford was of the intellectual property of Add2 Limited in the nature of know-how and designs that I have referred to above (since at the time Mr Dowen thought that Add2 Limited did own that, but did not own the Patent), but the assignment was not before me. The reason for that is that the Defendants requested it in connection with a different aspect of the ultra vires issue (assessing the value of the Patent) and when the Claimant refused, did not follow up.

243. This issue too should have been properly articulated and prepared well before trial if the Defendants were going to pursue it. It is speculative because the Defendants essentially hoped that the Darnford assignment was fortuitously drafted so as to cover the Patent even though when it was done Add2 Limited did not think it owned the Patent. On the materials I do have it is also probably incorrect, for the same reason.

“Black hole” and constructive trustee

244. On my findings so far these points do not arise because the Confirmatory Assignment is effective, and I will cover them extremely briefly.

53

245. The Claimant argued that if the Defendants are right on the ultra vires point then any damages would vanish into a “black hole”. The Defendants respond that the right to damages would reside with Add2 Limited if it still owned the Patent. In my view the Defendants are clearly right about this.

246. Relatedly, the Claimant argued that if the Assignment were ultra vires then it would still have legal title to the Patent, and would hold the damages on trust for Add2 Limited. The Defendants respond that if the Assignment was ultra vires then it would be void ab initio, and that the fact that the Claimant is the registered proprietor of the Patent is merely rebuttable evidence of legal title (see Fraser v. Oystertec [2003] EWHC 2787 (Ch) at [70]). In my view the Defendants are also right about this.

CONCLUSIONS

247. My conclusions are:

i) All the claims of the Patent are obvious over Woermann.

ii) The other validity attacks fail.

iii) Had it been valid, the Patent would have been infringed.

iv) The amendments are formally allowable but will be refused because the claims are obvious.

v) The Defendants' points under s. 62(3) are rejected but do not arise because of the invalidity.

vi) The ultra vires defence fails.

248. I have also made findings about pre-action conduct which can be considered further when I deal with costs.

249. I will hear Counsel as to the form of Order if it cannot be agreed. I direct that time for seeking permission to appeal shall not run until after the hearing on the form of Order (or the making of such Order if it is agreed).

Add2 Research and Development Limited v. Dspace Digital Signal Processing & Control Engineering GmbH
2021

We use cookies on this website, you can read our Privacy and Cookies Policy. To use website as intended please Accept Cookies